المنتجات
المنتجات
اتصل بنا
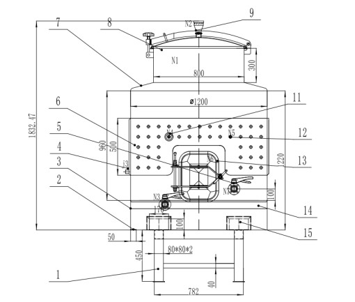
وصف المنتج
تم تصميم هذا النوع من الحاويات بفتحات أو هياكل للرافعة الشوكية، مما يسهل إدخال شوكات الرافعة مباشرة للتعامل معها، مما يبسط عملية التحميل والتفريغ؛

1. جيوب الرافعة الشوكية المتكاملة (الميزة غير القابلة للتفاوض)
هذه هي السمة المميزة. يحتوي كل خزان نبيذ للرافعة الشوكية على جيوب رافعة شوكية من الفولاذ المقوى (عادة 2-4 جيوب، موضوعة بشكل متماثل على قاعدة الخزان أو الجدران الجانبية السفلية). تم تصميم هذه الجيوب لتحمل الوزن الكامل للخزان بالإضافة إلى النبيذ بداخله (خزان سعة 500 جالون ممتلئ يمكن أن يزن أكثر من 4500 رطل!). الأهم من ذلك، أن الجيوب تكون متساوية أو غائرة - فهي لا تبرز، لذلك لن يعلق الخزان على الرفوف أو الخراطيم أو المعدات الأخرى عند نقله. نحن لا نستخدم الأقواس الخارجية هنا أبدًا - فهي تنكسر بسهولة تحت الأحمال الثقيلة.
2. تصميم قابل للتراص (لتوفير مساحة التخزين)
معظم خزانات النبيذ للرافعة الشوكية قابلة للتراص عندما تكون فارغة (وأحيانًا عندما تكون ممتلئة جزئيًا، مع حدود وزن صارمة). يحتوي الجزء العلوي من الخزان على حافة مقواة تناسب قاعدة خزان آخر تمامًا، بحيث يمكنك تكديس 2-3 خزانات باستخدام الرافعة الشوكية. هذا يغير قواعد اللعبة بالنسبة للمصانع الصغيرة والمتوسطة - لا تحتاج إلى مستودع ضخم لتخزين الخزانات الفارغة خلال المواسم غير النشطة. نصيحة احترافية: تحقق دائمًا من تصنيف التراص من الشركة المصنعة - لا تتراص الخزانات الممتلئة أبدًا إلا إذا كانت مصنفة صراحةً لذلك (معظمها ليس كذلك، لأسباب تتعلق بالسلامة).
3. بناء متين وخفيف الوزن (متوازن للتعامل مع الرافعة الشوكية)
تصنع هذه الخزانات دائمًا تقريبًا من الفولاذ المقاوم للصدأ 304 أو 316 (مناسب للأغذية، مقاوم للتآكل، مثالي للنبيذ الحمضي). لكن سمك الفولاذ متوازن بعناية: سميك بما يكفي لحمل النبيذ دون تشوه، ورفيع بما يكفي ليتم نقله بواسطة رافعة شوكية قياسية في المستودع (لا حاجة إلى رافعة شوكية صناعية ثقيلة). كما يتم تعزيز القاعدة بإطار فولاذي صلب - وهذا يمنع الخزان من الانحناء أو التصدع عند رفعه بواسطة الرافعة الشوكية، حتى عندما يكون ممتلئًا.
4. خيارات حجم متنقلة (مصممة لسهولة حركة الرافعة الشوكية)
تأتي خزانات النبيذ للرافعة الشوكية بأحجام معيارية وقابلة للمناورة - عادةً من 50 جالون (لاختبار الدُفعات الصغيرة) حتى 1000 جالون (لإنتاج الدُفعات الصغيرة بكميات كبيرة). لا يتم تصنيعها بحجم أكبر من ذلك، لأن الخزانات الأكبر ستكون عريضة / طويلة جدًا بحيث لا يمكن للرافعة الشوكية نقلها بأمان في مصنع النبيذ (حيث تكون الممرات ضيقة غالبًا، مع أسقف منخفضة ومنعطفات ضيقة). تتيح هذه القدرة على النقل نقل الخزان مباشرة من المكبس إلى منطقة التخمير، ثم إلى غرفة الشيخوخة، وأخيرًا إلى خط التعبئة - دون الحاجة إلى ضخ النبيذ بين الخزانات الثابتة عدة مرات (مما يقلل من خطر الأكسدة!).
5. نقاط وصول صديقة للرافعة الشوكية (لتسهيل مهام صنع النبيذ)
يتم وضع الصمامات ومنافذ أخذ العينات والفتحات (أبواب الوصول) جميعها على ارتفاع يسهل الوصول إليه عند نقل الخزان بواسطة الرافعة الشوكية. على سبيل المثال، يكون صمام التصريف عادةً على الجانب السفلي (ولكن ليس منخفضًا جدًا بحيث يصطدم بشوكات الرافعة الشوكية)، ويكون منفذ أخذ العينات على ارتفاع الصدر - بحيث لا تضطر إلى تسلق سلم أو خفض الخزان لأخذ عينة من النبيذ. تحتوي بعض الموديلات حتى على علامة ارتفاع قابلة للتعديل بواسطة الرافعة الشوكية - بحيث يمكن للمشغل رفع الخزان إلى الارتفاع المطلوب بالضبط للاتصال بالخراطيم أو خطوط التعبئة، دون الحاجة إلى حوامل إضافية.
6. أسطح خارجية مقاومة للصدمات (للتعامل في المستودعات)
لنكن واقعيين - الرافعات الشوكية ليست مثالية دائمًا. تحتوي هذه الخزانات على واقيات زوايا مقواة وطلاء مقاوم للخدوش على الفولاذ. كما أن جيوب الرافعة الشوكية مبطنة بمطاط أو بلاستيك سميك لمنع خدش شوكات الرافعة للخزان (يمكن أن تؤدي علامات الخدش إلى التآكل بمرور الوقت، مما يفسد النبيذ). هذا يجعلها أكثر متانة بكثير من خزانات النبيذ القياسية غير المخصصة للرافعة الشوكية، والتي تتلف بسهولة إذا حاولت نقلها بمعدات ثقيلة.
7. متوافقة مع ملحقات مصنع النبيذ القياسية (لا حاجة إلى أدوات خاصة)
تعمل خزانات النبيذ للرافعة الشوكية مع جميع معدات مصنع النبيذ القياسية التي لديك بالفعل: سترات التبريد، عناصر التسخين، أذرع الرفع، والسدادات. الفرق الوحيد هو أنه يمكنك نقل الخزان مع كل هذه الملحقات المرفقة (طالما كانت مثبتة) باستخدام الرافعة الشوكية. هذا يوفر الكثير من الوقت - لا تحتاج إلى فصل وإعادة توصيل الخراطيم في كل مرة تنقل فيها الخزان. على سبيل المثال، يمكنك تخمير النبيذ في الخزان، وتركيب سترة تبريد، ونقله إلى الغرفة الباردة باستخدام الرافعة الشوكية، وتركه ليشيخ - كل ذلك دون لمس النبيذ بداخله.
احصل على عرض سعر
التعبئة والشحن
المنتجات الموصى بها